Разноцветныe формочки для песка / Красочные Лоп...
Формовочная линия для ПАО "КАМАЗ" :: Новости ::...
Формочки для песка пнг — купить по низкой цене ...
Формовочная линия-Машиностроительная компания А...
Автоматизированная линия безопочной формовки
Родолит песок - Формовочный песок
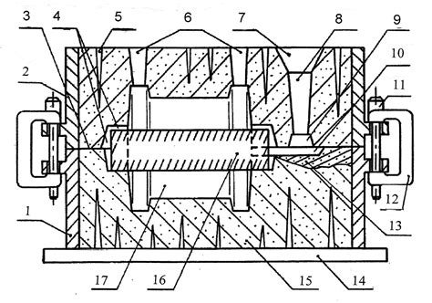
36.Устройство песчаной формы
Разновидности литейных форм
Формовочный песок для литья купить в Екатеринбу...
Формовочный песок 2К1О2025
Изготовление форм для литья песчаные смеси купи...
Изготовление литейных форм
Изготовление разовых литейных форм.
Промышленная 3D печать литейных форм
Изготовление форм и стержней. Литейная форма в ...
Изготовление форм для лепнины на заказ — «Феник...
Песок кварцевый формовочный щебень гранитный ОО...
Формочка для песочницы - купить в интернет-мага...
Аддитивная технология производства литейных фор...
2.3.2 Конструкция песчаной литейной формы
Виготовлення форм для лиття
Изготовление силиконовых форм для литья - Киев,...
Текстура песка
Технологический процесс литья в песчано-глинист...
🍇Форма для бетонних (🍇виноградних🍇) стовпчиків⛩...
Изготовление пресс-форм для литья пластмасс под...
Изготовление песчаных литейных форм
Литье в песчано-глинистые формы. Формовочные ма...
Песок формовочный ГОСТ 2138-91 - купить с беспл...