Поплавковый плотномер. Советский патент 1991 го...
Плотномер жидкости поплавковый пневматический П...
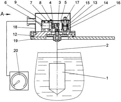
RU49995U1 - Поплавковый плотномер - Google Patents
Измерение плотности - Системы управления технол...
Поплавковые плотномеры. Ареометры - Использован...
Плотномер для нефти и нефтепродуктов: плюсы, пр...
Плотномеры TERMEX
Переносной плотномер ПЛОТ-3Б-1П купить по цене ...
Переносной плотномер ПЛОТ-3Б-1П купить в Москве...
Радиоизотопные плотномеры
Плотномер переносной ПЛОТ-3Б-1П купить в Красно...
Аппаратура
Купить ПЛОТ-3Б-1П-20Б-15 плотномер в Ташкенте и...
Купить плотномер динамический дпг-1.2 | Цена, ф...
Автоматизация контроля плотности продуктов изме...
Плотномер Liquiphant M FEL50D Density FML621 ку...
Плотномер
Плотномер грунтов динамический ПДУ-МГ4 Удар - к...
Плотномер переносной ПЛОТ-3Б-1П купить с достав...
Плотномер В-1 - 31900.00 руб. | Плотномеры / Из...
Плотномер ПЛОТ-3Б в Санкт-Петербурге
Поплавковый плотномер DenDi
Измерение плотности жидкостей - Система управле...
Плотномер для различных типов веществ SG-ULTRA ...
ПМП-201 уровнемеры-плотномеры поплавковые магни...
ПМП-128 уровнемер-плотномер магнитностракционны...
Плотномер: устройство, принцип работы и сферы п...